|
|
|
|
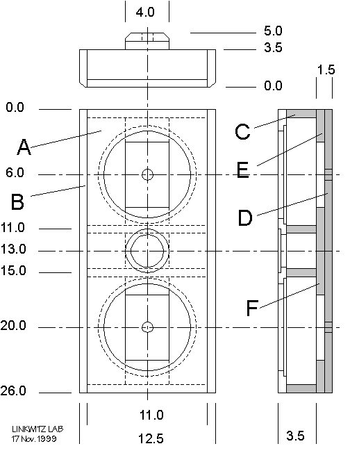
All dimensions are in inch units unless otherwise stated.
(1" = 25.4 mm)
For construction use 0.75" thick Baltic plywood or similar for structural
solidity and appearance of exposed edges.


A - Front panel, 26" x 11", two 196 mm diameter holes with 450 bevel, and 228 mm diameter recess of 9 mm depth in rear, one 76 mm diameter hole with 106 mm diameter recess of 5 mm depth in front. Tweeter hole requires additional cutout for fitting the driver solder lugs.
B - Side panel (2x), 26" x 3.5" x 0.75", 450
bevel, solid wood for cosmetics. Glued and screwed to braces C and glued to
front panel A.
The side panels may be damped against structure borne vibrations by gluing four
9" x 2.5" strips of Vinyl tile flooring to their insides using contact
cement. Choose tile that sounds dead when knocking on it. The tile is scribed
with a work knife and the strips are broken off.
C - Brace (4x), 11" x 2.75". Glued and screwed
to front panel A.
The two inner braces should have small holes for routing wires to the drivers.
The top brace requires two holes when hanging the main panels from the
ceiling.
D - Back spine, 26" x 4", two 1" diameter holes, 8 screw holes, two 450 bevels. The back spine assembly consists of D, E, F.
E - Back spacer (2x), 4" x 3", 2 screw holes. Glue to back spine D.
F - Back spacer, 8" x 4", 4 screw holes. Glue to back spine D.
G - Gasket (4x), adhesive backed Poron rubber or Neoprene weather stripping tape. Attached to front panel A.
H - Adhesive (2x), Silicone II Glue & Seal. Alternatively, use 2 layers of Neoprene weather stripping tape so that it is compressed by the back spine. This makes driver removal easier.
I - Gasket, adhesive backed pliable foam weather stripping tape. Attached to tweeter face plate.
J - 8" Driver (2x), Scan-Speak 21W/8554 Kevlar
Woofer.
Cover rear vent in pole piece with window screen material for protection against
debris falling into the hole.
For mounting the driver, it is first centered in the rear recess of the front
panel cutout and buffered from the front panel using gaskets G. While the panel
assembly rests on its face, and the weight of the driver compresses the gasket
G, glue H is applied to the magnet and the back spine assembly is screwed to the
panel assembly. The glue H is allowed to cure while the panel assembly rests on
its face. Thus, the driver
is clamped between the front panel and the back spine with a small amount of
resiliency and is essentially held from the magnet. This avoids the
basket-magnet (spring-mass) resonance that is typical for a
driver with the basket screwed to the front panel. Alternatively, use 2
layers of Neoprene
weather stripping tape on the magnet back face so that the tape is compressed by
the back spine. This makes driver removal easier.
The two drivers are wired in parallel (red to red, black to black).
Fill the cabinet cavity behind the driver lightly with polyester wadding to
attenuate high frequency modes.
The 21W/8554 woofer has a treated foam surround and will not deteriorate in
humid tropical climates, according to Scan-Speak. I do not know of another
8" driver with equally low non-linear distortion. I recently investigated
several other drivers to see if there is an alternative, but I did not find a
driver with better overall performance for this application.
K - 1" Driver, Scan-Speak D2905/9700 soft dome
tweeter, which I prefer, or D2904/9800 Aluminum dome tweeter. My preference was
confirmed by recent tweeter comparison tests.
The tweeter is mounted to the front panel with wood screws. Gasket I must not be
springy to avoid that the tweeter front plate buzzes against the screw
heads.
The panel cavity behind the tweeter may be filled with lead shot to increase the
mass of the main panel and reduce its vibration in reaction to the moving mass
of the drivers. Insulate the tweeter wiring from the lead. Put covers on the
cavity.
A stand for the panel might be found at a loudspeaker dealership or you could build it using PVC pipe components, for example. A grill frame could be attached to the front panel with Velcro. Grill cloth is never ideal and should be as open weave as possible, to let air flow through it unimpeded.
The 8" drivers require electronic equalization of the 6 dB/oct
frequency response roll-off which is due to front-to-rear sound cancellation.
All the necessary circuitry for driver equalization and for crossovers to
tweeter and woofer is on the | Crossover/EQ
| page.
You will find measured frequency response data on the | System
Test
| page and answers to questions about different drivers, maximum output, dipole cancellation,
diffraction, project cost, etc. on the | FAQ | page.
Acoustic theory of open-baffle speakers is on the | Design
Models | page.
| Build-Your-Own |
Main Panel | Dipole Woofer
| Crossover/EQ
| Supplies |
| System Test | Design Models
| Prototypes | Active Filters
| Surround | FAQ |